变动成本是指其总额随着业务量的变动而呈______变动的成本。
正比例
扫描二维码免费使用微信小程序搜题/刷题/查看解析。
版权声明:本文由翰林刷题小程序授权发布,如需转载请注明出处。
本文链接:https://doc.20230611.cn/post/925334.html
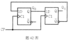
上一篇:分析题42图所示同步时序电路的逻辑功能。 要求:(1)写出驱动方程;(2)写出状态方程;(3)画出状态转换图,判是否能自启动
分析题42图所示同步时序电路的逻辑功能。 要求:(1)写出驱动方程;(2)写出状态方程;(3)画出状态转换图,判是否能自启动
下一篇:下列各项,属于货币资金的有( )。